行業動態
1.防爆電氣設備澆注系統
防爆電氣設備澆筑系統是指正確引導澆筑金屬液添充凹模和澆口但在鑄表層設量的一系列通道。它包括澆口杯(盆)、直澆道、橫澆道和內澆道,依照JB/T2435--2013《鑄造工藝符號及表示方法》的規定。
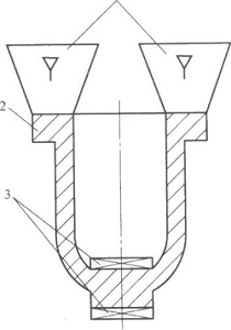
1-澆口杯(盆) 2-直澆道 3-橫澆道 4-內澆道
在圖2中,1為澆口杯(盆),又稱外澆口,要在直灌溉頂都用以承攬和引導澆筑金屬液的器皿,常呈杯狀或盆狀,可以緩解澆筑金屬液對金屬型鑄的沖擊和阻止一部分熔渣殘渣進到直澆道;2為直澆道,是防爆電氣設備澆注系統里的豎直通道,一般截面為環形并帶有一定的光潔度,可調節澆筑金屬液進到凹模的速度與緩解澆筑金屬液對塑腔的沖擊;3為橫澆道,是防爆電氣設備澆注系統中的水平通道,截面樣子常選用梯狀、環形或半圓型,能將澆筑金屬液分流到各個內進澆口,能夠把熔渣殘渣擋以內繞口外;4為內澆道,是防爆電氣設備澆注系統中引導澆筑金屬液進到凹槽的那一部分通道,其截面樣子有平扁梯狀、三角形和半圓型等,可以控制澆筑金屬液注入金屬型鑄速度和方向,及其防爆電氣設備鑄造件的冷卻速度和凝結方法。
2.澆口和直澆道
在鑄造工藝設計時,除科學地設計防爆電氣設備澆注系統外,人們常常在防爆電氣設備鑄造件的結實位置依照次序凝固標準設定澆口,在防爆電氣設備鑄造件厚度的薄厚交接位置依照與此同時凝固標準設定直澆道。
(1)澆口
大伙兒已經知道,防爆電氣設備澆注系統設定澆口還可以在防爆電氣設備鑄件凝固環節中開展補縮,還能夠排氣和集渣。在防爆電氣設備鑄造件制冷環節中,防爆電氣設備鑄造件結實一部分很容易出現所謂縮松和縮孔,澆口儲存的澆筑金屬液添充金屬型鑄后便將這種縮松和縮孔推至澆口。防爆電氣設備鑄造件落砂后,冒口l將會被清除去除,因此這種縮松和縮孔便被消除,于是就可以確保防爆電氣設備鑄造件的品質。
因此,澆口設定的部位,一般依據可能出現縮松和縮孔位置來確定,但是不要設置在防爆電氣設備鑄造件關鍵的部位或承受力比較大的部位;總數應該根據防爆電氣設備鑄造件的構造和規格來確定。
(2)冷鐵
1-澆口2-防爆電氣設備鑄造件3-(外)冷鐵
冷鐵是一種可以增加防爆電氣設備鑄造件局部的凝結速率、在砂模和(或)砂芯表層或型腔中設定的金屬材料體。它能夠加速防爆電氣設備鑄造件局部的凝結速率,完成與此同時凝固。
依據放置部位,直澆道分成外冷鐵和內冷鐵,安放在防爆電氣設備鑄造件外部的為外冷鐵,安放在防爆電氣設備鑄造件的內部為內冷鐵。冷鐵一般放置于零件的厚、薄壁相接處厚的一邊,那樣就可以實現厚、薄壁一部分與此同時凝固。
冷鐵的尺寸比例和設定總數應該根據防爆電氣設備鑄造件構造、樣子、規格、熱節和鑄造合金類型等多種因素來充分考慮明確。外冷鐵厚度不可過薄,過薄時可能與防爆電氣設備鑄造件溶接在一起;外冷鐵也不要太厚,過厚時容易造成防爆電氣設備鑄造件發生裂痕。
一般來說,冷鐵由生鐵或碳素鋼做成;特別是內冷鐵,一般用和鑄造合金相同或相近的材料制做。
總的來說,人們就可以根據這些內容、防爆電氣設備鑄造件的構造和尺寸及其本企業實際情況來制作鑄造工藝圖和制定有關工藝文件,具體指導防爆電氣設備鑄造件的生產。








